Secciones
Foros Electrónica
Boletines de correo
Boletines
background image

 

1 of 10

 

 

011806 

 
 

 
 

 

FEATURES 

§ Replaces mechanical variable resistors 

§ Electronic interface provided for digital as 

well as manual control 

§ Wide differential input voltage range 

between 4.5 and 8V 

§ Wiper position is maintained in the absence 

of power 

§ Low-cost alternative to mechanical controls 

§ Applications include volume, tone, contrast, 

brightness, and dimmer control 

§ Available in 8-pin SOIC and 8-pin DIP 

packages 

§ Standard resistance values for Dallastat: 

-  DS1669-10 ~ 10 kΩ¦ 

-  DS1669-50 ~ 50 kΩ¦ 

-  DS1669-100 ~ 100 kΩ¦ 

§ Operating Temperature Range 

-  Industrial: -40 °C to +85 °C 

 

 
 
 
 

 

 
 
 
 
 

PIN ASSIGNMENT DS1669

 

 

 
 
 
 
 
 
 
 
 
 
 
 
 
 
 

 

PIN DESCRIPTION DS1669  

R

H

 

 

- High Terminal of Potentiometer 

R

W

 

 

- Wiper Terminal of Potentiometer 

R

L

 

 

- Low Terminal of Potentiometer 

-V, +V  

- Voltage Inputs 

UC 

 

- Up Contact Input 

D   - 

Digital 

Input 

DC 

 

- Down Contact Input 

 

DESCRIPTION   

The DS1669 Dallastat is a digital rheostat or potentiometer. This device provides 64 possible uniform tap 
points over the entire resistive range. The standard resistive ranges are 10 k

W, 50 kW, and 100 kW. The 

Dallastat can be controlled by either a switch contact closure input or a digital source input such as a 
CPU. Wiper position is maintained in the absence of power through the use of a EEPROM memory cell 
array. The EEPROM cell array will withstand more than 50,000 writes. 
 
The DS1669 is offered in two standard IC packages which include an 8-pin 300-mil DIP and an 8-pin 
208-mil SOIC. The DS1669 can be configured to operate using a single pushbutton, dual pushbutton or 
digital source input by varying power-on conditions. This is illustrated in Figures 1 and 2. The DS1669 
pinouts allow access to both ends of the potentiometer R

L

, R

H

, and the wiper, R

W

. Control inputs include 

DS1669

Dallastat Electronic Digital Rheostat

 

www.maxim-ic.com 

+V 
DC 
R

W

 

-V 

(R

L

)

D

UC

(R

H

)




1
2
3
4

8-Pin DIP (300-mil) 

See Mech. Drawings Section 

+V 

DC 

R

W

 

V- 

(R

L

)

D

UC

(R

H

)

8-Pin SOIC (208-mil) 

See Mech. Drawings Section 

background image

DS1669 

 

 

 

2 of 10

the digital source input, D, the up contact input, UC, and the down contact input, DC. Other pins include 
the positive, +V, and negative, -V, supply inputs. The DS1669 is specified to operate from -40 °C to 
+85 °C. 

 

OPERATION 

The DS1669 can be configured to operate from a single contact closure, dual contact closure, or a digital 
source input. Figures 1 and 2 illustrate both contact closure configurations. Contact closure is defined as a 
transition from a high level to a low level on the up contact (UC) or down contact (DC) inputs. All three 
control inputs are active when in a low state and are inactive when in a high state.  
 
The DS1669 interprets input pulse widths as the means of controlling wiper movement. A single pulse 
input on the UC, DC, or D input terminals will cause the wiper position to move 1/64

th

 of the total 

resistance. A transition from a high to low on these inputs is considered the beginning of pulse activity or 
contact closure. A single pulse must be greater than 1 ms but lasting no longer than 1 second. Pulse 
timings are shown in Figure 5. 
 
Repetitive pulsed inputs can be used to step through each resistive position of the device in a relatively 
fast manner (see Figure 5b). The requirement for repetitive pulsed inputs is that pulses must be separated 
by a minimum time of 1 ms. If the input is not allowed to be inactive (high) for at least 1 ms, the DS1669 
will interpret repetitive pulses as a single pulse. 
 
Pulse inputs lasting longer than 1 second will cause the wiper to move one position every 100 ms 
following the initial 1-second hold time. The total time to transcend the entire potentiometer using a 
continuous input pulse is given by the formula below: 
 

»1 second + 63 X 100 ms = 7.3 (seconds) 

 
Single contact closure operation allows the user to control wiper movement in either direction from a 
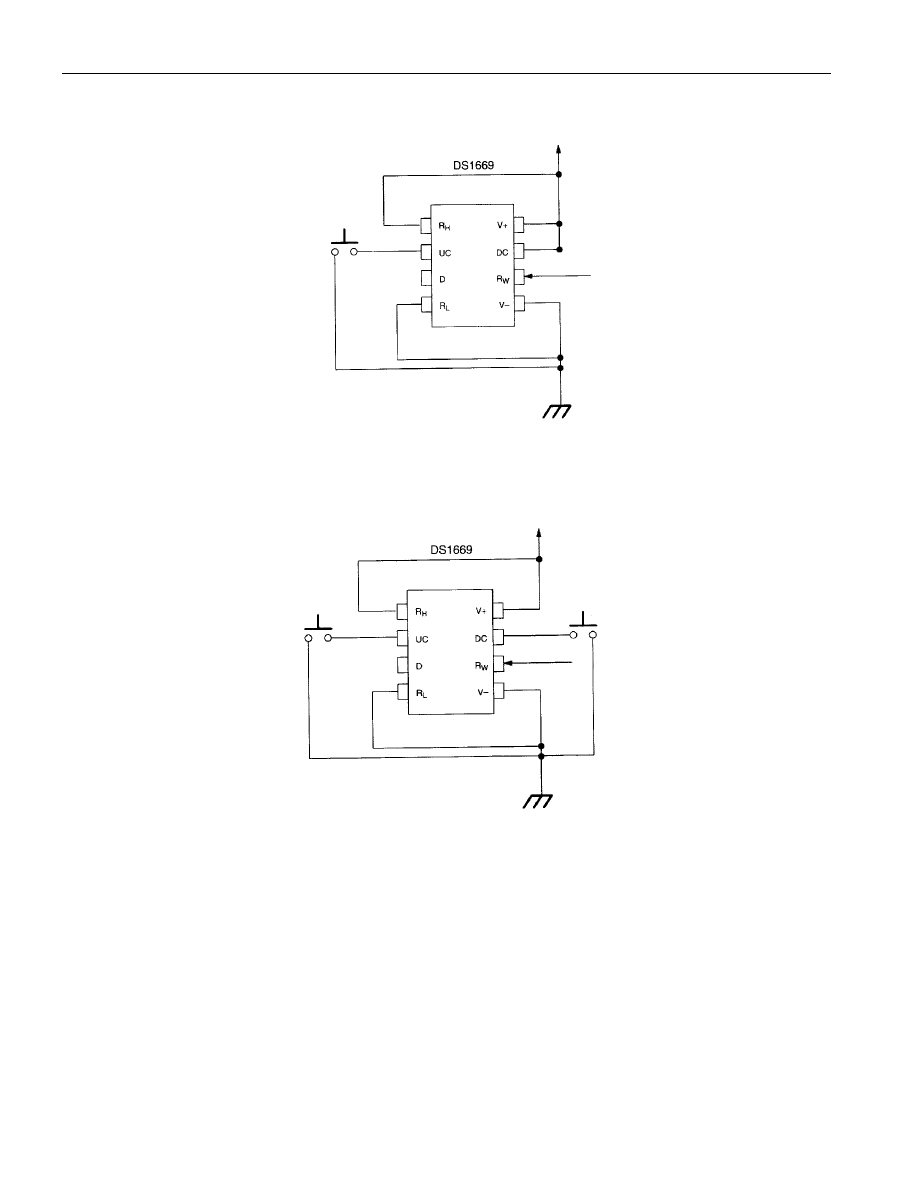
single pushbutton input. Figure 1 presents a typical single pushbutton configuration. The UC input is used 
to increment and decrement wiper position for single pushbutton mode of operation. The DC input 
provides no functionality in this mode but must be connected to the positive supply voltage (V

CC

). The 

digital source input (D) can be allowed to float. 
 
On device power-up, the configuration shown in Figure 1 must exist in order to enter the single contact 
closure mode of operation

¾especially and specifically, the (DC) input’s direct connection to the positive 

supply voltage (V

CC

). 

 
The initial direction of wiper movement in single pushbutton operation is determined by prior activity. 
The initial direction of wiper movement will be opposite to that of the previous activity. Changing the 
direction of wiper movement in single pushbutton mode is accomplished by allowing a period of 
inactivity on the UC input of (greater than) 1 second, or by moving the wiper to the end of the 
potentiometer range. This will occur regardless of whether the input is a continuous pulse, a sequence of 
repetitive pulses or a single pulse. 
 
The digital source input, D, was designed for microprocessor or controlled applications. This control 
input manipulates the device in the same manner as the single pushbutton configuration, controlling 
movement of the wiper position in both upward and downward directions.  One added feature over the 
single pushbutton configuration is the ability to increment or decrement wiper position at a faster rate. 
Digital source input control is available regardless of the type of pushbutton configuration.   

background image

DS1669 

 

 

 

3 of 10

Dual pushbutton mode of operation is entered when the DC input is floated on power-up. If interfacing 
contact closure control inputs to digital logic, the DC input must be interfaced to an open drain drive 
which is high impedance during power-up; see Figure 2B. This will prevent the device from entering a 
single pushbutton mode of operation. 
  
In dual pushbutton mode, each direction is controlled by the up contact (UC) and down contact (DC) 
inputs, respectively. No wait states are required to change wiper direction in dual pushbutton mode. In 
dual pushbutton mode, as the wiper position reaches the end of the potentiometer, the direction of wiper 
movement will not change. Wiper position will remain at the potentiometers’ end until an opposite 
direction input is given. 
 
All contact closure control inputs, UC, DC, and D, are internally pulled-up by a 100 k

W resistance. The 

UC and DC inputs are internally debounced and require no external components for input signal 
conditioning. 

 

  
 
 

background image

DS1669 

 

 

 

4 of 10

DS1669 SINGLE PUSHBUTTON CONFIGURATION (TYPICAL EXAMPLE) 
Figure 1 

 

 

 

DS1669 DUAL PUSHBUTTON CONFIGURATION (TYPICAL APPLICATION) 
Figure 2A 

 

 

 

background image

DS1669 

 

 

 

5 of 10

DS1669 DUAL PUSHBUTTON CONFIGURATION (TYPICAL APPLICATION)  
Figure 2B 

 

 

The DS1669 is provided with two supply inputs -V and +V. The maximum voltage difference between 
the two supply inputs is +8.0 volts. The minimum voltage difference is +4.5 volts. All input levels are 
referenced to the negative supply input, -V. The voltage applied to any Dallastat terminal must not exceed 
the negative supply voltage (-V ) by -0.5 or the positive supply voltage (+V) by +0.5 volts. The minimum 
logic high level must be +2.4 volts with reference to the -V supply voltage input for +V=5V. A logic low 
level with reference to the -V supply voltage has a maximum value of +0.8 volts. Dallastats exhibit a 
typical wiper resistance of 400 ohms with a maximum wiper resistance of 1000 ohms. The maximum 
wiper current allowed through the Dallastat is specified at 1 milliamps (see DC Electrical 
Characteristics). 

 

NONVOLATILE WIPER SETTINGS 

Dallastats maintain the position of the wiper in the absence of power. This feature is provided through the 
use of EEPROM type memory cell arrays. During normal operation the position of the wiper is 
determined by the input multiplexer. Periodically, the multiplexer will update the EEPROM memory 
cells. The manner in which an update occurs has been optimized for reliability, durability, and 
performance. Additionally, the update operation is totally transparent to the user. 

 

When power is applied to the Dallastat, the wiper setting will be the last recorded in the EEPROM 
memory cells.  If the Dallastat setting is changed after power is applied, the new value will be stored after 
a delay of 2 seconds.  The initial storage of a new value after power-up occurs when the first change is 
made, regardless of when this change is made. 

 

After the initial change on power-up, subsequent changes in the Dallastat EEPROM memory cells will 
occur only if the wiper position of the part is moved greater than 12.5% of the total resistance range. Any 
wiper movement after initial power-up which is less than 12.5% will not be recorded in the EEPROM 
memory cells. Since the Dallastat contains a 64-to-1 multiplexer, a change of greater than 12.5% 
corresponds to a change of the fourth LSB. 

 

Changes or storage to the EEPROM memory cells must allow for a 2-second delay to guarantee that 
updates will occur. The EEPROM memory cells are specified to accept greater than 80,000 writes before 
a wear-out condition. If the EEPROM memory cells do reach a wear-out condition, the Dallastat will still 
function properly while power is applied. However, on power-up the device’s wiper position will be that 
of the position last recorded before memory cell wear-out. 

background image

DS1669 

 

 

 

6 of 10

FLOWCHART: ONE-BUTTON OPERATION AND ELECTRICAL CONTROL 
Figure 3 

 

 

 

CONTACT OPEN AND CONTACT CLOSURE TIMING IS 1s 

± 15%. 

background image

DS1669 

 

 

 

7 of 10

FLOWCHART: TWO-BUTTON OPERATION Figure 4 

 

 

 

CONTACT OPEN AND CONTACT CLOSURE TIMING IS 1sec. 

± 15%.

background image

DS1669 

 

 

 

8 of 10

ABSOLUTE MAXIMUM RATINGS* 

Voltage on Any Pin Relative to -V 

-V -0.5V + 8.0V 

Operating Temperature 

 -40 °C to +85 °C  

Storage Temperature 

-55 °C to +125 °C 

Soldering Temperature 

260 °C for 15 seconds 

 
*  This is a stress rating only and functional operation of the device at these or any other conditions 
above those indicated in the operation sections of this specification is not implied. Exposure to absolute 
maximum rating conditions for extended periods of time may affect reliability. 
 

RECOMMENDED DC OPERATING CONDITIONS 

(-40 °C to +85 °C)

 

PARAMETER SYMBOL  MIN 

TYP  MAX  UNITS NOTES 

+ Supply Voltage 

+V 

-V + 4.5 

 

-V + 8.0 

 

- Supply Voltage 

-V 

+V - 8.0 

 

+V - 4.5 

 

Rheostat Inputs 

R

H

,R

W

,R

L

 

-V - 0.5 

 

+V + 0.5 

 

Logic Input 1 

V

IH

 +2.4     V 1, 

Logic Input 0 

V

IL

   

+0.8 

1, 

 

DC ELECTRICAL CHARACTERISTICS: 

(-40 °C to +85 °C; -V to +V = 4.5V to 8.0V)

 

PARAMETER SYMBOL  MIN 

TYP  MAX  UNITS NOTES 

+, - Supply Current 

I

CC1

    1  2 mA 3 

Supply Current, 
Idle State 

I

CC2

   65 

µA 

Wiper Resistance 

R

W

  

400 

1000 

  

Wiper Current 

I

W

 

    1 mA 5 

Rheostat Current 

I

H

, I

L

      1 mA 5 

Power-Up Time 

t

PU

   

10 

µs 

10 

Input Leakage 

I

LI

 -1  +1 

µA 

 

AC ELECTRICAL CHARACTERISTICS 

(-40 °C to +85 °C; -V to +V = 4.5V to 8.0V)

 

PARAMETER SYMBOL  MIN 

TYP  MAX  UNITS NOTES 

Digital Input 
Pulse Width 

t

DPW

 

 

DC 

µs 

1, 7, 8 

Contact 
Pulse Width 

t

CPW

 

 

DC 

ms 

1, 7, 8 

Repetitive Input 
Pulse High Time 

t

HPW

 

 

DC 

ms 

1, 7, 8 

Continuous 
Input Pulse 

t

CCP

 

 

DC 

1, 7, 8 

 

 

background image

DS1669 

 

 

 

9 of 10

ANALOG RESISTOR CHARACTERISTICS 

(-40 °C to +85 °C)

 

PARAMETER SYMBOL  MIN 

TYP  MAX  UNITS NOTES 

End-to-End 
Resistor Tolerance 

 -20 

 

+20 

14 

Absolute Linearity 

 

-0.75 

 

+0.75 

LSB 

11 

Relative Linearity 

 

-0.3 

 

+0.3 

LSB 

12 

-3 dB Cutoff 
Frequency Noise 
Figure 

fcutoff 

   

Hz 

13 

Temperature 
Coefficient 

 

 750  

ppm/C 

 

 

CAPACITANCE 

(T

A

 = 25 °C)

 

PARAMETER SYMBOL  MIN 

TYP  MAX  UNITS NOTES 

Input Capacitance 

C

IN

   5 

pF 

Output Capacitance 

C

OUT

    7 pF 6 

 

TIMING DIAGRAMS Figure 5 

 

 

 

t

CPW

 

background image

DS1669 

 

 

 

10 of 10

NOTES: 

1.  All inputs; UV, DC, and D are internally pulled up with a resistance of 100kΩ¦. 

 

2.  Input logic levels are referenced to -V. 

 

3. I

CC

 is the internal current that flows between -V and +V. 

 

4.  Input leakage applies to contact inputs UC and DC and digital input (D). 

 

5.  Wiper current and rheostat currents are the maximum currents which can flow in the resistive 

elements. 

 

6.  Capacitance values apply at 25 °C. 

 

7.  Input pulse width is the minimum time required for an input to cause an increment or decrement. If 

the UC, DC or D input is held active for longer than 1 second, subsequent increments or decrements 
will occur on 100 ms intervals until the inputs UC, DC, and/or D is released to V

IH

 

8.  Repetitive pulsed inputs on UC, DC, or D will be recognized as long as the pulse repetition occurs 

within 1 second of each other. Pulses occurring faster than 1 ms apart may not be recognized as 
individual inputs but can be interpreted a constant input. 

 

9.  Idle state supply current is measured with no pushbutton depressed and with the wiper. R

W

 tied to a 

CMOS load. 

 

10. Maximum time required for the Dallastat to determine single or dual pushbutton operation after input 

supply has reached 10% of recommended supply operating conditions. 

 

11. Absolute linearity is used to determine wiper voltage versus expected voltage as determined by wiper 

position. 

 

12. Relative linearity is used to determine the change in voltage between successive tap positions. 

 

13. -3 dB cutoff frequency characteristics for the DS1669 depend on potentiometer total resistance: 

DS1669-010; 1 MHz, DS1669-050; 200 kHz, DS1669-100; 100 kHz. 

 
14. Valid at 25

°C only. 

 
 

 
 
 
 
 
 
 
 
 
 
 
 
 
 
 

 

 

background image

DS1669 

 

 

 

11 of 10

Dallas Ordering Information 
DS1669-10 10Kohm 

DIP 

DS1669-50 50Kohm 

DIP 

DS1669-100 100Kohm 

DIP 

DS1669-10+ 

10Kohm 

DIP lead free 

DS1669-50+ 

50Kohm 

DIP lead free 

DS1669-100+ 

100Kohm 

DIP lead free 

DS1669S-10 10Kohm 

SOIC 

DS1669S-10/T&R 10Kohm 

SOIC 

T&R 

DS1669S-10+ 10Kohm 

SOIC 

lead 

free 

DS1669S-10+T&R 

10Kohm 

SOIC T&R lead free 

DS1669S-50 50Kohm 

SOIC 

DS1669S-50/T&R 50Kohm 

SOIC 

T&R 

DS1669S-50+ 50Kohm 

SOIC 

lead 

free 

DS1669S-50+T&R 

50Kohm 

SOIC T&R lead free 

DS1669S-100 100Kohm 

SOIC 

DS1669S-100/T&R 100Kohm 

SOIC 

T&R 

DS1669S-100+ 100Kohm 

SOIC 

lead 

free 

DS1669S-100+T&R 

100Kohm 

SOIC T&R lead free 

 


powered by phppowered by MySQLPOWERED BY APACHEPOWERED BY CentOS© 2004 - 2026Información Legalpoliticas de cookiesipv6 ready