Secciones
Foros Electrónica
Boletines de correo
Boletines
background image

(

)

OUT

ADJ

R

V

V

I

R

2

1.25

1

2

120

æ

ö

-

= -

+

+ -

ç

÷

è

ø

SNVS778E - MAY 1999 - REVISED JANUARY 2016

LM137, LM337-N 3-Terminal Adjustable Negative Regulators

1 Features

3 Description

The LM137 and LM337-N are adjustable 3-terminal

1

1.5-A Output Current

negative voltage regulators capable of supplying

Line Regulation 0.01%/V (Typical)

-1.5 A or more currents over an output voltage range

Load Regulation 0.3% (Typical)

of

-1.25 V to -37 V. It requires only two external

resistors to set the output voltage and one output

77-dB Ripple Rejection

capacitor for frequency compensation. The circuit

50 ppm/ C Temperature Coefficient

design has been optimized for excellent regulation

Thermal Overload Protection

and low thermal transients. Further, the LM137 and
LM337-N feature internal current limiting, thermal

Internal Short-Circuit Current Limiting Protections

shutdown and safe-area compensation, making it
virtually blowout-proof against overloads.

2 Applications

The LM137 and LM337-N are ideal complements to

Industrial Power Supplies

the LM117 and LM317 adjustable positive regulators.

Factory Automation Systems

The LM137 has a wider operating temperature range

Building Automation Systems

than the LM337-N and is also offered in military and

PLC Systems

space qualified versions.

Instrumentation

Device 

IGBT Drive Negative Gate Supplies

PART NUMBER

PACKAGE

BODY SIZE (NOM)

Networking

LM137

TO (3)

8.255 mm × 8.255 mm

Set-Top Boxes

SOT-223 (4)

3.50 mm × 6.50 mm

LM337-N

TO (3)

8.255 mm × 8.255 mm

TO-220 (3)

10.16 mm × 14.986 mm

(1) For all available packages, see the orderable addendum at

the end of the data sheet. The LF01 is a lead formed (bent)
version of the TO-220 package.

Adjustable Negative Voltage Regulator

Full output current not available at high input-output voltages

C1 = 1-

μF solid tantalum or 10-μF aluminum electrolytic required for stability

*C2 = 1-

μF solid tantalum is required only if regulator is more than 4 from power-supply filter capacitor

Output capacitors in the range of 1-

μF to 1000-μF of aluminum or tantalum electrolytic are commonly used to provide

improved output impedance and rejection of transients

1

An IMPORTANT NOTICE at the end of this data sheet addresses availability, warranty, changes, use in safety-critical applications,
intellectual property matters and other important disclaimers. PRODUCTION DATA.

background image

SNVS778E - MAY 1999 - REVISED JANUARY 2016

Table of Contents

1

Features ..................................................................

8

Application and Implementation ........................

8.1

Application Information............................................

2

Applications ...........................................................

8.2

Typical Applications ................................................

3

Description .............................................................

9

Power Supply Recommendations ......................

4

Revision History.....................................................

10

Layout...................................................................

5

Pin Configuration and Functions .........................

10.1

Layout Guidelines .................................................

6

Specifications.........................................................

10.2

Layout Example ....................................................

6.1

Absolute Maximum Ratings ......................................

10.3

Thermal Considerations ........................................

6.2

ESD Ratings..............................................................

11

Device and Documentation Support .................

6.3

Recommended Operating Conditions .......................

11.1

Documentation Support ........................................

6.4

Thermal Information ..................................................

11.2

Related Links ........................................................

6.5

Electrical Characteristics...........................................

11.3

Community Resources..........................................

6.6

Typical Characteristics ..............................................

11.4

Trademarks ...........................................................

7

Detailed Description ..............................................

11.5

Electrostatic Discharge Caution ............................

7.1

Overview ...................................................................

11.6

Glossary ................................................................

7.2

Functional Block Diagram .........................................

12

Mechanical, Packaging, and Orderable

7.3

Feature Description...................................................

Information ...........................................................

7.4

Device Functional Modes........................................

4 Revision History

Changes from Revision D (April 2013) to Revision E

Page

Added ESD Ratings table, Feature Description section, Device Functional ModesApplication and Implementation
section, Power Supply Recommendations section, Layout section, Device and Documentation Support section, and
Mechanical, Packaging, and Orderable Information section. .................................................................................................

Deleted soldering information from Absolute Maximum Ratings ...........................................................................................

Changes from Revision C (April 2013) to Revision D

Page

Changed layout of National Data Sheet to TI format .............................................................................................................

2

Copyright   1999-2016, Texas Instruments Incorporated

Product Folder Links:

background image

SNVS778E - MAY 1999 - REVISED JANUARY 2016

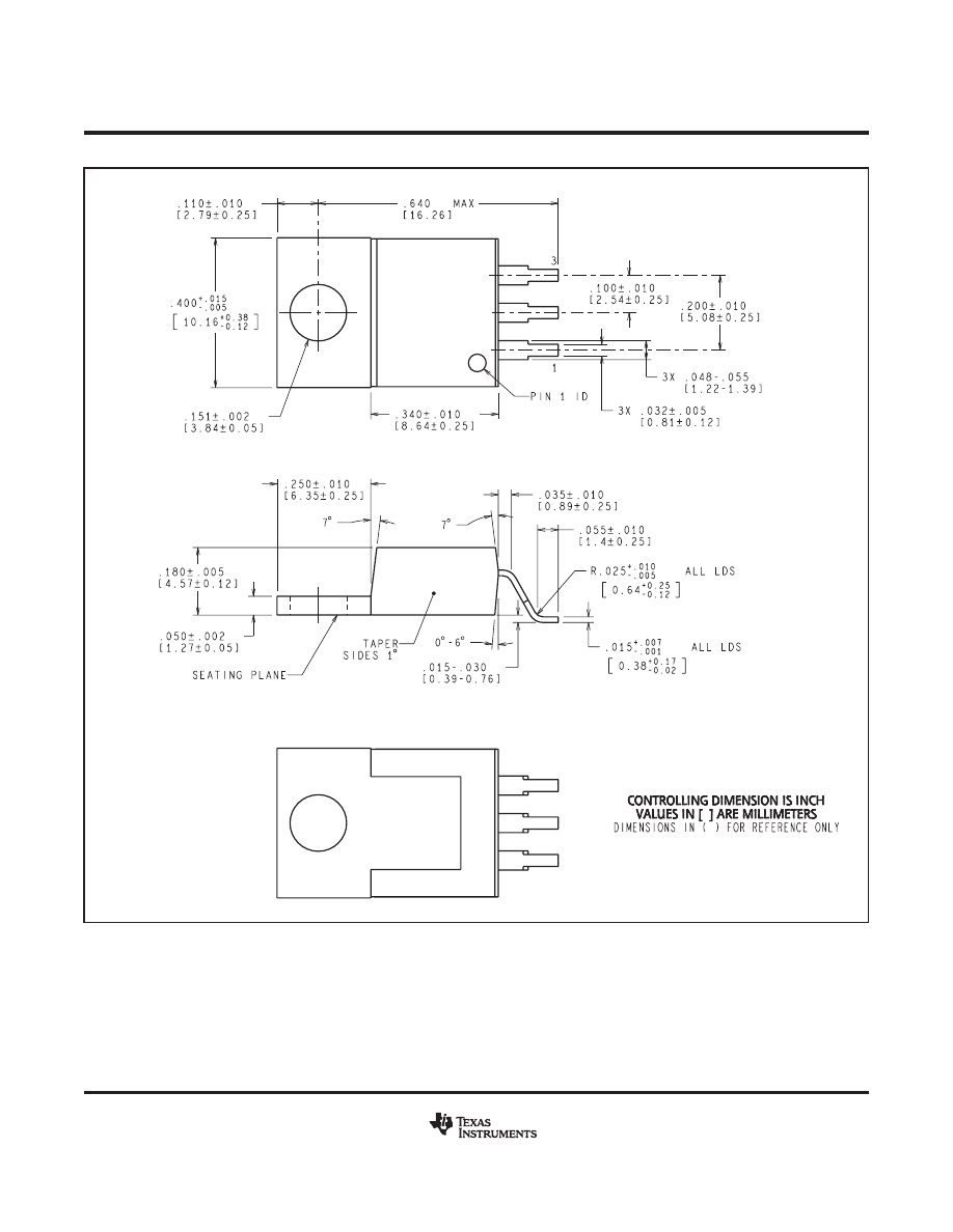
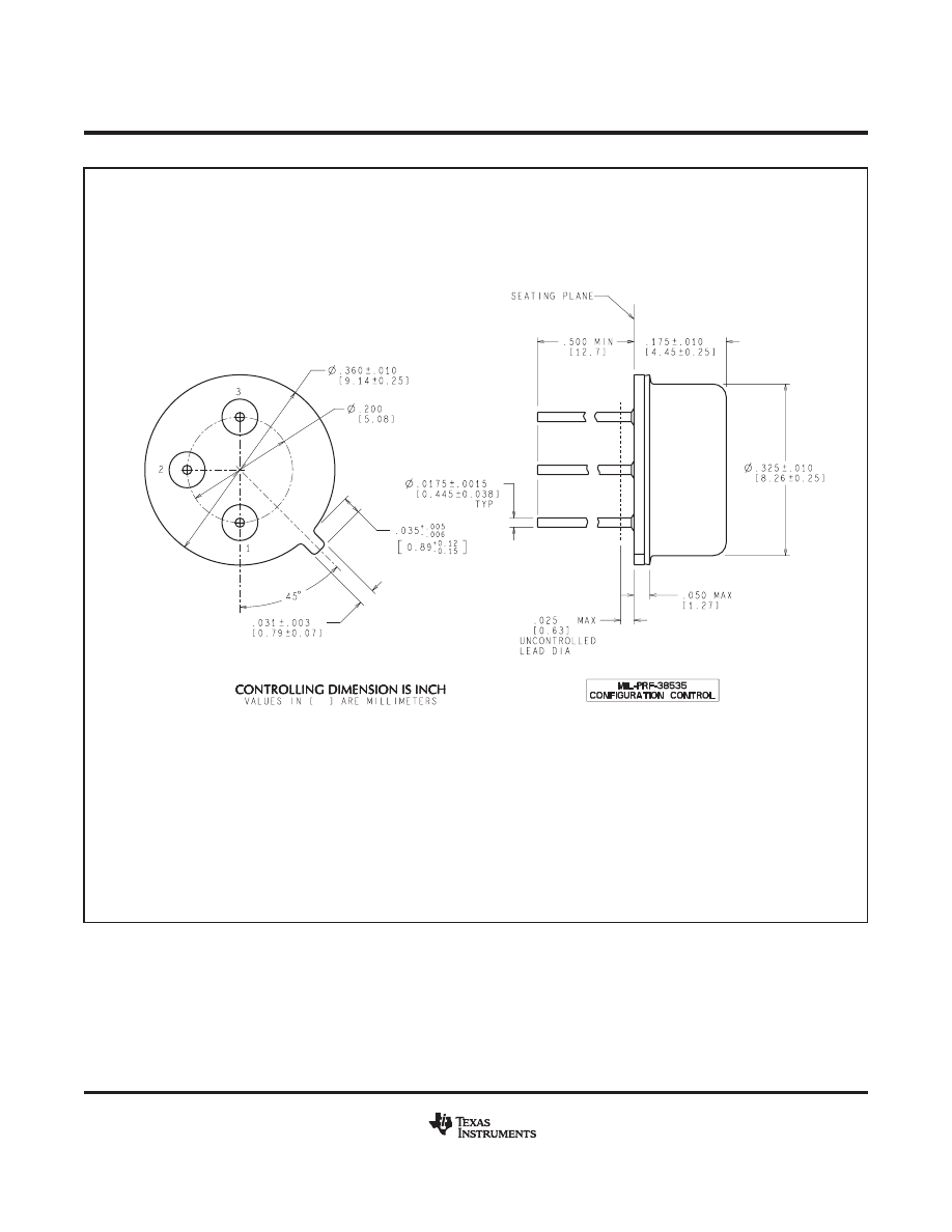
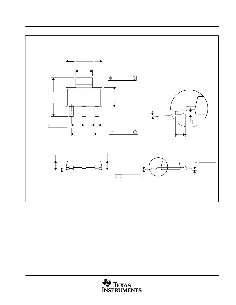
5 Pin Configuration and Functions

TO Metal Can Package

TO-220 Plastic Package

3-Pin Package Number NDT0003A

Package Number NDE0003B

Bottom View

Front View

SOT-223

3-Lead Package Marked N02A

Front View

Pin Functions

PIN

I/O

DESCRIPTION

NAME

TO-220

TO

SOT-223

ADJ

1

1

1

Adjust pin

V

IN

2, TAB

3, CASE

2, 4

I

Input voltage pin for the regulator

V

OUT

3

2

3

O

Output voltage pin for the regulator

Copyright   1999-2016, Texas Instruments Incorporated

3

Product Folder Links:

background image

SNVS778E - MAY 1999 - REVISED JANUARY 2016

6 Specifications

6.1 Absolute Maximum Ratings

MIN

MAX

UNIT

Power dissipation

Internally Limited

Input-output voltage differential

-0.3

40

V

LM137

-55

150

Operating junction temperature

LM337-N

0

125

C

LM337I

-40

125

Storage temperature, T

stg

-65

150

C

6.2 ESD Ratings

VALUE

UNIT

V

(ESD)

Electrostatic discharge

Human-body model (HBM), per ANSI/ESDA/JEDEC JS-001

(1)

2000

V

(1)

JEDEC document JEP155 states that 500-V HBM allows safe manufacturing with a standard ESD control process. Pins listed as  2000
V may actually have higher performance.

6.3 Recommended Operating Conditions

over operating free-air temperature range (unless otherwise noted)

MIN

MAX

UNIT

LM137

-55

150

Operating junction temperature

LM337-N

0

125

C

LM337I

-40

125

6.4 Thermal Information

LM137

LM337-N

NDT

NDT

DCY

NDE OR NDG

THERMAL METRIC

(1)

UNIT

(TO)

(TO)

(SOT-223)

(TO-220)

3 PINS

3 PINS

3 PINS

3 PINS

R

ΘJA

Junction-to-ambient thermal resistance

140

(2)

140

(2)

58.3

22.9

C/W

R

ΘJC(top)

Junction-to-case (top) thermal resistance

12

12

36.6

15.7

C/W

R

ΘJB

Junction-to-board thermal resistance

7.2

4.1

C/W

ψ

JT

Junction-to-top characterization parameter

1.3

2.4

C/W

ψ

JB

Junction-to-board characterization parameter

7

4.1

C/W

R

ΘJC(bot)

Junction-to-case (bottom) thermal resistance

1

C/W

(1)

For more information about traditional and new thermal metrics, see the Semiconductor and IC Package Thermal Metrics application
report,

(2)

No heat sink.

4

Copyright   1999-2016, Texas Instruments Incorporated

Product Folder Links:

background image

SNVS778E - MAY 1999 - REVISED JANUARY 2016

6.5 Electrical Characteristics

Unless otherwise specified, these specifications apply

-55 C ≤ T

j

≤ 150 C for the LM137, 0 C ≤ T

j

≤ 125 C for the LM337-N;

V

IN

- V

OUT

= 5 V; and I

OUT

= 0.1 A for the TO package and I

OUT

= 0.5 A for the SOT-223 and TO-220 packages. Although

power dissipation is internally limited, these specifications are applicable for power dissipations of 2 W for the TO and SOT-
223, and 20 W for the TO-220. I

MAX

is 1.5 A for the SOT-223 and TO-220 packages, and 0.2 A for the TO package.

LM137

LM337-N

PARAMETER

TEST CONDITIONS

UNIT

MIN

TYP

MAX

MIN

TYP

MAX

T

J

= 25 C, 3 V

≤ |V

IN

- V

OUT

|

≤ 40 V

(1)

Line regulation

0.01

0.02

0.01

0.04

%/V

I

L

= 10 mA

Load regulation

T

J

= 25 C, 10 mA

≤ I

OUT

≤ I

MAX

0.3%

0.5%

0.3%

1%

Thermal regulation

T

J

= 25 C, 10-ms Pulse

0.002

0.02

0.003

0.04

%/W

Adjustment pin current

65

100

65

100

μA

10 mA

≤ I

L

≤ I

MAX

Adjustment pin current charge

3 V

≤ |V

IN

- V

OUT

|

≤ 40 V,

2

5

2

5

μA

T

A

= 25 C

T

J

= 25 C

(2)

-1.225

-1.25

-1.275

-1.213

-1.25

-1.287

V

3 V

≤ |V

IN

- V

OUT

|

≤ 40 V,

(2)

Reference voltage

10 mA

≤ I

OUT

≤ I

MAX

, P

≤ P

MAX

-55 C ≤ T

J

≤ 150 C

-1.2

-1.25

-1.3

-1.2

-1.25

-1.3

V

Line regulation

3 V

≤ |V

IN

- V

OUT

|

≤ 40 V,

(1)

0.02

0.05

0.02

0.07

%/V

Load regulation

10 mA

≤ I

OUT

≤ I

MAX

,

(1)

0.3%

1%

0.3%

1.5%

Temperature stability

T

MIN

≤ T

j

≤ T

MAX

0.6%

0.6%

|V

IN

- V

OUT

|

≤ 40 V

2.5

5

2.5

10

mA

Minimum load current

|V

IN

- V

OUT

|

≤ 10 V

1.2

3

1.5

6

mA

K, DCY and NDE

1.5

2.2

3.5

1.5

2.2

3.7

A

package

|V

IN

- V

OUT

|

≤ 15 V

NDT package

0.5

0.8

1.8

0.5

0.8

1.9

A

Current limit

K, DCY and NDE

0.24

0.4

0.15

0.4

A

package

|V

IN

- V

OUT

| = 40 V, T

J

= 25 C

NDT package

0.15

0.17

0.1

0.17

A

RMS output noise, % of V

OUT

T

j

= 25 C, 10 Hz

≤ f ≤ 10 kHz

0.003%

0.003%

V

OUT

=

-10 V, f = 120 Hz

60

60

dB

Ripple rejection ratio

C

ADJ

= 10

μF

66

77

66

77

dB

Long-term stability

T

J

= 125 C, 1000 Hours

0.3%

1%

0.3%

1%

(1)

Regulation is measured at constant junction temperature, using pulse testing with a low duty cycle. Changes in output voltage due to
heating effects are covered under the specification for thermal regulation. Load regulation is measured on the output pin at a point

 in.

below the base of the TO packages.

(2)

Selected devices with tightened tolerance reference voltage available.

Copyright   1999-2016, Texas Instruments Incorporated

5

Product Folder Links:

background image

SNVS778E - MAY 1999 - REVISED JANUARY 2016

6.6 Typical Characteristics

(NDE Package)

Figure 2. Current Limit

Figure 1. Load Regulation

Figure 3. Adjustment Current

Figure 4. Dropout Voltage

Figure 5. Temperature Stability

Figure 6. Minimum Operating Current

6

Copyright   1999-2016, Texas Instruments Incorporated

Product Folder Links:

background image

SNVS778E - MAY 1999 - REVISED JANUARY 2016

Typical Characteristics (continued)

(NDE Package)

Figure 7. Ripple Rejection

Figure 8. Ripple Rejection

Figure 9. Ripple Rejection

Figure 10. Output Impedance

Figure 11. Line Transient Response

Figure 12. Load Transient Response

Copyright   1999-2016, Texas Instruments Incorporated

7

Product Folder Links:

background image

(

)

OUT

ADJ

R

V

V

I

R

2

1.25

1

2

120

æ

ö

-

= -

+

+ -

ç

÷

è

ø

SNVS778E - MAY 1999 - REVISED JANUARY 2016

7 Detailed Description

7.1 Overview

In operation, the LM137 and LM337-N develops a nominal

-1.25-V reference voltage between the output and

adjustment terminal. The reference voltage is impressed across program resistor R1 (120

Ω for example) and,

because the voltage is constant, a constant current then flows through the output set resistor R2, giving an
output voltage calculated by

.

(1)

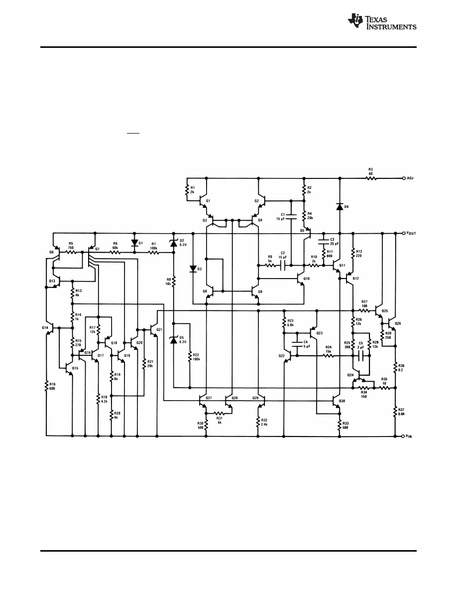
7.2 Functional Block Diagram

7.3 Feature Description

7.3.1 Thermal Regulation

When power is dissipated in an IC, a temperature gradient occurs across the IC chip affecting the individual IC
circuit components. With an IC regulator, this gradient can be especially severe because power dissipation is
large. Thermal regulation is the effect of these temperature gradients on output voltage (in percentage output
change) per Watt of power change in a specified time. Thermal regulation error is independent of electrical
regulation or temperature coefficient, and occurs within 5 ms to 50 ms after a change in power dissipation.
Thermal regulation depends on IC layout as well as electrical design. The thermal regulation of a voltage
regulator is defined as the percentage change of V

OUT

, per Watt, within the first 10 ms after a step of power is

applied. The LM137 device's specification is 0.02%/W, maximum.

8

Copyright   1999-2016, Texas Instruments Incorporated

Product Folder Links:

background image

SNVS778E - MAY 1999 - REVISED JANUARY 2016

Feature Description (continued)

LM137
V

OUT

=

-10 V

V

IN

- V

OUT

=

-40 V

I

IL

= 0 A

 0.25 A  0 A

Vertical sensitivity, 5 mV/div

Figure 13. Output Drift (10W Pulse for 10ms)

In

a typical LM137 device's output drifts only 3 mV (or 0.03% of V

OUT

=

-10 V) when a 10-W pulse is

applied for 10 ms. This performance is thus well inside the specification limit of 0.02%/W × 10 W = 0.2%
maximum. When the 10-W pulse is ended, the thermal regulation again shows a 3-mV step at the LM137 chip
cools off.

NOTE

The load regulation error of about 8 mV (0.08%) is additional to the thermal regulation
error.

In

, when the 10-W pulse is applied for 100 ms, the output drifts only slightly beyond the drift in the first

10 ms, and the thermal error stays well within 0.1% (10 mV).

Copyright   1999-2016, Texas Instruments Incorporated

9

Product Folder Links:

background image

SNVS778E - MAY 1999 - REVISED JANUARY 2016

Feature Description (continued)

LM137
V

OUT

=

-10 V

V

IN

- V

OUT

=

-40 V

I

L

= 0 A

 0.25 A  0 A

Horizontal sensitivity, 20 ms/div

Figure 14. Output Drift (10-W Pulse for 100 ms)

7.4 Device Functional Modes

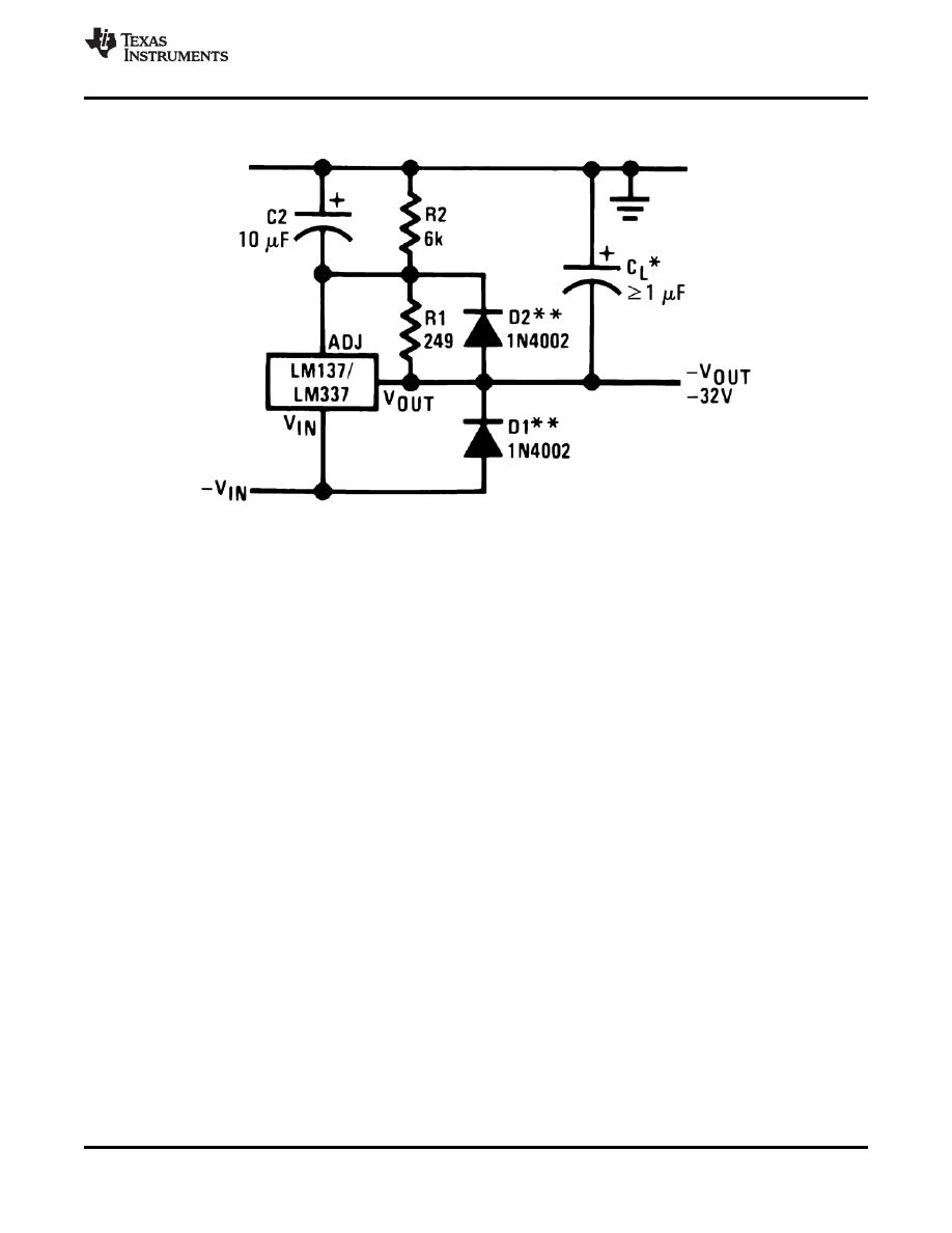
7.4.1 Protection Diodes

When external capacitors are used with any IC regulator, it is sometimes necessary to add protection diodes to
prevent the capacitors from discharging through low current points into the regulator. Most 10-

μF capacitors have

low enough internal series resistance to deliver 20-A spikes when shorted. Although the surge is short, there is
enough energy to damage parts of the IC.

When an output capacitor is connected to a negative output regulator and the input is shorted, the output
capacitor pulls current out of the output of the regulator. The current depends on the value of the capacitor, the
output voltage of the regulator, and the rate at which V

IN

is shorted to ground.

The bypass capacitor on the adjustment terminal can discharge through a low current junction. Discharge occurs
when either the input, or the output, is shorted.

shows the placement of the protection diodes.

10

Copyright   1999-2016, Texas Instruments Incorporated

Product Folder Links:

background image

SNVS778E - MAY 1999 - REVISED JANUARY 2016

Device Functional Modes (continued)

*When C

L

is larger than 20

μF, D1 protects the LM137 in case the input supply is shorted

**When C2 is larger than 10

μF and -V

OUT

is larger than

-25V, D2 protects the LM137 in case the output is shorted

Figure 15. Regulator With Protection Diodes

Copyright   1999-2016, Texas Instruments Incorporated

11

Product Folder Links:

background image

(

)

OUT

ADJ

R

V

V

I

R

2

1.25

1

2

120

æ

ö

-

= -

+

+ -

ç

÷

è

ø

SNVS778E - MAY 1999 - REVISED JANUARY 2016

8 Application and Implementation

NOTE

Information in the following applications sections is not part of the TI component
specification, and TI does not warrant its accuracy or completeness. TIs customers are
responsible for determining suitability of components for their purposes. Customers should
validate and test their design implementation to confirm system functionality.

8.1 Application Information

The LM137 and LM337-N are versatile, high performance, negative output linear regulators with high accuracy
and a wide temperature range. An output capacitor can be added to further improve transient response, and the
ADJ pin can be bypassed to achieve very high ripple-rejection ratios. The device's functionality can be utilized in
many different applications that require negative voltage supplies, such as bipolar amplifiers, operational
amplifiers, and constant current regulators.

8.2 Typical Applications

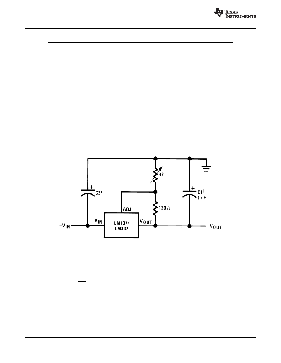
8.2.1 Adjustable Negative Voltage Regulator

The LM137 and LM337-N can be used as a simple, negative output regulator to enable a variety of output
voltages needed for demanding applications. By using an adjustable R2 resistor, a variety of negative output
voltages can be made possible as shown in

Full output current not available at high input-output voltages
C1 = 1-

μF solid tantalum or 10-μF aluminum electrolytic required for stability

*C2 = 1-

μF solid tantalum is required only if regulator is more than 4 inches from power-supply filter capacitor

Output capacitors in the range of 1

μF to 1000 μF of aluminum or tantalum electrolytic are commonly used to provide

improved output impedance and rejection of transients

Figure 16. Adjustable Negative Voltage Regulator

(2)

8.2.1.1 Design Requirements

The device component count is very minimal, employing two resistors as part of a voltage divider circuit and an
output capacitor for load regulation. An input capacitor is needed if the device is more than 4 inches from the
filter capacitors.

8.2.1.2 Detailed Design Procedure

The output voltage is set based on the selection of the two resistors, R1 and R2, as shown in

.

12

Copyright   1999-2016, Texas Instruments Incorporated

Product Folder Links:

background image

SNVS778E - MAY 1999 - REVISED JANUARY 2016

Typical Applications (continued)

8.2.1.3 Application Curve

As shown in

, the maximum output current capability is limited by the input-output voltage differential,

package type, and junction temperature.

Figure 17. Current Limit

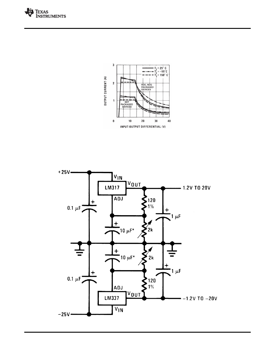
8.2.2 Adjustable Lab Voltage Regulator

The LM337-N can be combined with a positive regulator such as the LM317-N to provide both a positive and
negative voltage rail. This can be useful in applications that use bi-directional amplifiers and dual-supply
operational amplifiers.

Full output current not available at high input-output voltages
*The 10

μF capacitors are optional to improve ripple rejection

Copyright   1999-2016, Texas Instruments Incorporated

13

Product Folder Links:

background image

*0.8

R1

120

W

OUT

1.250V

I

=

R1

SNVS778E - MAY 1999 - REVISED JANUARY 2016

Typical Applications (continued)

8.2.3 Current Regulator

A simple, fixed current regulator can be made by placing a resistor between the V

OUT

and ADJ pins of the

LM137. By regulating a constant 1.25 V between these two terminals, a constant current can be delivered.

(3)

(4)

8.2.4

-5.2-V Regulator with Electronic Shutdown

The LM337-N can be used with a PNP transistor to provide shutdown control from a TTL control signal. The PNP
can short or open the ADJ pin to GND. When ADJ is shorted to GND by the PNP, the output is

-1.3V. When

ADJ is disconnected from GND by the PNP, then the LM337-N outputs the programmed output of

-5.2 V.

Minimum output

 -1.3 V when control input is low

14

Copyright   1999-2016, Texas Instruments Incorporated

Product Folder Links:

background image

SNVS778E - MAY 1999 - REVISED JANUARY 2016

Typical Applications (continued)

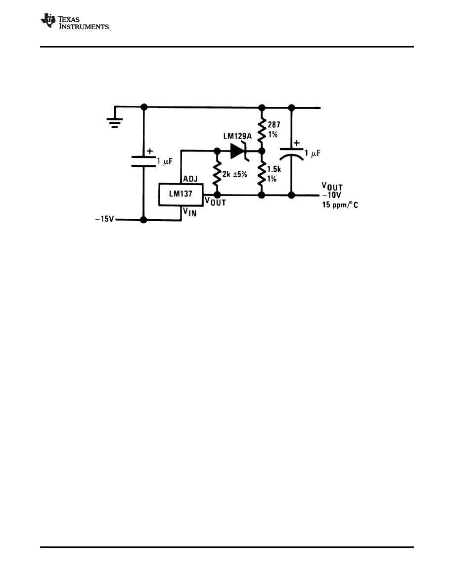
8.2.5 High Stability

-10-V Regulator

Using a high stability shunt voltage reference in the feedback path, such as the LM329, provides damping
necessary for a stable, low noise output.

Copyright   1999-2016, Texas Instruments Incorporated

15

Product Folder Links:

background image

SNVS778E - MAY 1999 - REVISED JANUARY 2016

9 Power Supply Recommendations

The input supply to the LM137 and LM337-N must be kept at a voltage level such that its maximum input to
output differential voltage rating is not exceeded. The minimum dropout voltage must also be met with extra
headroom when possible to keep the LM137 and LM337-N in regulation. TI recommends an input capacitor,
especially when the input pin is placed more than 4 inches away from the power-supply filter capacitor.

10 Layout

10.1 Layout Guidelines

Some layout guidelines must be followed to ensure proper regulation of the output voltage with minimum noise.
Traces carrying the load current must be wide to reduce the amount of parasitic trace inductance and the
feedback loop from V

OUT

to ADJ must be kept as short as possible. To improve PSRR, a bypass capacitor can

be placed at the ADJ pin and must be placed as close as possible to the IC. In cases when V

IN

shorts to ground,

an external diode must be placed from V

IN

to V

OUT

to divert the surge current into the output capacitor and

protect the IC. Similarly, in cases when a large bypass capacitor is placed at the ADJ pin and V

OUT

shorts to

ground, an external diode must be placed from V

OUT

to ADJ to provide a path for the bypass capacitor to

discharge. These diodes must be placed close to the corresponding IC pins to increase their effectiveness.

10.2 Layout Example

Figure 18. Layout Example (SOT-223)

16

Copyright   1999-2016, Texas Instruments Incorporated

Product Folder Links:

background image

SNVS778E - MAY 1999 - REVISED JANUARY 2016

10.3 Thermal Considerations

10.3.1 Heatsinking SOT-223 Package Parts

The SOT-223 DCY packages use a copper plane on the PCB and the PCB itself as a heatsink. To optimize the
heat sinking ability of the plane and PCB, solder the tab of the package to the plane.

and

show the information for the SOT-223 package.

assumes a

Θ

(J

-A)

of 75 C/W

for 1 ounce copper and 51 C/W for 2 ounce copper and a maximum junction temperature of 125 C.

Figure 19.

Θ

(J

-A)

vs Copper (2 ounce) Area for the SOT-223 Package

Figure 20. Maximum Power Dissipation vs T

AMB

for the SOT-223 Package

See AN-1028,

for power enhancement techniques to be used with the SOT-223 package.

Copyright   1999-2016, Texas Instruments Incorporated

17

Product Folder Links:

background image

SNVS778E - MAY 1999 - REVISED JANUARY 2016

11 Device and Documentation Support

11.1 Documentation Support

11.1.1 Related Documentation

For related documentation see the following:

AN-1028,

11.2 Related Links

The table below lists quick access links. Categories include technical documents, support and community
resources, tools and software, and quick access to sample or buy.

Table 1. Related Links

TECHNICAL

TOOLS &

SUPPORT &

PARTS

PRODUCT FOLDER

SAMPLE & BUY

DOCUMENTS

SOFTWARE

COMMUNITY

LM137

LM337-N

11.3 Community Resources

The following links connect to TI community resources. Linked contents are provided "AS IS" by the respective
contributors. They do not constitute TI specifications and do not necessarily reflect TI's views; see TI's

TI's Engineer-to-Engineer (E2E) Community. Created to foster collaboration

among engineers. At e2e.ti.com, you can ask questions, share knowledge, explore ideas and help
solve problems with fellow engineers.

TI's Design Support Quickly find helpful E2E forums along with design support tools and

contact information for technical support.

11.4 Trademarks

E2E is a trademark of Texas Instruments.
All other trademarks are the property of their respective owners.

11.5 Electrostatic Discharge Caution

These devices have limited built-in ESD protection. The leads should be shorted together or the device placed in conductive foam
during storage or handling to prevent electrostatic damage to the MOS gates.

11.6 Glossary

 TI Glossary.

This glossary lists and explains terms, acronyms, and definitions.

12 Mechanical, Packaging, and Orderable Information

The following pages include mechanical, packaging, and orderable information. This information is the most
current data available for the designated devices. This data is subject to change without notice and revision of
this document. For browser-based versions of this data sheet, refer to the left-hand navigation.

18

Copyright   1999-2016, Texas Instruments Incorporated

Product Folder Links:

background image

PACKAGE OPTION ADDENDUM

www.ti.com

20-Jul-2016

Addendum-Page 1

PACKAGING INFORMATION

Orderable Device

Status

(1)

Package Type Package

Drawing

Pins Package

Qty

Eco Plan

(2)

Lead/Ball Finish

(6)

MSL Peak Temp

(3)

Op Temp ( C)

Device Marking

(4/5)

Samples

LM137H

ACTIVE

TO

NDT

3

500

Green (RoHS

& no Sb/Br)

Call TI

Level-1-NA-UNLIM

-55 to 150

( LM137HP+ ~
     LM137HP+)

LM137H/NOPB

ACTIVE

TO

NDT

3

500

Green (RoHS

& no Sb/Br)

Call TI

Level-1-NA-UNLIM

-55 to 150

( LM137HP+ ~
     LM137HP+)

LM137KG-MW8

ACTIVE

WAFERSALE

YS

0

1

Green (RoHS

& no Sb/Br)

Call TI

Level-1-NA-UNLIM

LM337H

ACTIVE

TO

NDT

3

500

Green (RoHS

& no Sb/Br)

Call TI

Level-1-NA-UNLIM

0 to 125

( LM337H ~ LM337H)

LM337H/NOPB

ACTIVE

TO

NDT

3

500

Green (RoHS

& no Sb/Br)

Call TI

Level-1-NA-UNLIM

0 to 125

( LM337H ~ LM337H)

LM337IMP

NRND

SOT-223

DCY

4

1000

TBD

Call TI

Call TI

-40 to 125

N02A

LM337IMP/NOPB

ACTIVE

SOT-223

DCY

4

1000

Green (RoHS

& no Sb/Br)

CU SN

Level-1-260C-UNLIM

-40 to 125

N02A

LM337IMPX

NRND

SOT-223

DCY

4

2000

TBD

Call TI

Call TI

-40 to 125

N02A

LM337IMPX/NOPB

ACTIVE

SOT-223

DCY

4

2000

Green (RoHS

& no Sb/Br)

CU SN

Level-1-260C-UNLIM

-40 to 125

N02A

LM337T

NRND

TO-220

NDE

3

45

TBD

Call TI

Call TI

0 to 125

LM337T P+

LM337T/LF01

ACTIVE

TO-220

NDG

3

45

Pb-Free (RoHS

Exempt)

CU SN

Level-3-245C-168 HR

0 to 125

LM337T P+

LM337T/NOPB

ACTIVE

TO-220

NDE

3

45

Pb-Free (RoHS

Exempt)

CU SN

Level-1-NA-UNLIM

0 to125

LM337T P+

 

(1)

 The marketing status values are defined as follows:

ACTIVE: Product device recommended for new designs.
LIFEBUY: TI has announced that the device will be discontinued, and a lifetime-buy period is in effect.
NRND: Not recommended for new designs. Device is in production to support existing customers, but TI does not recommend using this part in a new design.
PREVIEW: Device has been announced but is not in production. Samples may or may not be available.
OBSOLETE: TI has discontinued the production of the device.

 

(2)

 Eco Plan - The planned eco-friendly classification: Pb-Free (RoHS), Pb-Free (RoHS Exempt), or Green (RoHS & no Sb/Br) - please check

for the latest availability

information and additional product content details.
TBD:  The Pb-Free/Green conversion plan has not been defined.
Pb-Free (RoHS): TI's terms "Lead-Free" or "Pb-Free" mean semiconductor products that are compatible with the current RoHS requirements for all 6 substances, including the requirement that
lead not exceed 0.1% by weight in homogeneous materials. Where designed to be soldered at high temperatures, TI Pb-Free products are suitable for use in specified lead-free processes.
Pb-Free (RoHS Exempt): This component has a RoHS exemption for either 1) lead-based flip-chip solder bumps used between the die and package, or 2) lead-based  die adhesive used between
the die and leadframe. The component is otherwise considered Pb-Free (RoHS compatible) as defined above.

background image

PACKAGE OPTION ADDENDUM

www.ti.com

20-Jul-2016

Addendum-Page 2

Green (RoHS & no Sb/Br): TI defines "Green" to mean Pb-Free (RoHS compatible), and free of Bromine (Br)  and Antimony (Sb) based flame retardants (Br or Sb do not exceed 0.1% by weight
in homogeneous material)

 

(3)

 MSL, Peak Temp. - The Moisture Sensitivity Level rating according to the JEDEC industry standard classifications, and peak solder temperature.

 

(4)

 There may be additional marking, which relates to the logo, the lot trace code information, or the environmental category on the device.

 

(5)

 Multiple Device Markings will be inside parentheses. Only one Device Marking contained in parentheses and separated by a "~" will appear on a device. If a line is indented then it is a continuation

of the previous line and the two combined represent the entire Device Marking for that device.

 

(6)

 Lead/Ball Finish - Orderable Devices may have multiple material finish options. Finish options are separated by a vertical ruled line. Lead/Ball Finish values may wrap to two lines if the finish

value exceeds the maximum column width.

 

Important Information and Disclaimer:The information provided on this page represents TI's knowledge and belief as of the date that it is provided. TI bases its knowledge and belief on information
provided by third parties, and makes no representation or warranty as to the accuracy of such information. Efforts are underway to better integrate information from third parties. TI has taken and
continues to take reasonable steps to provide representative and accurate information but may not have conducted destructive testing or chemical analysis on incoming materials and chemicals.
TI and TI suppliers consider certain information to be proprietary, and thus CAS numbers and other limited information may not be available for release.

 

In no event shall TI's liability arising out of such information exceed the total purchase price of the TI part(s) at issue in this document sold by TI to Customer on an annual basis.

 

background image

TAPE AND REEL INFORMATION

*All dimensions are nominal

Device

Package

Type

Package

Drawing

Pins

SPQ

Reel

Diameter

(mm)

Reel

Width

W1 (mm)

A0

(mm)

B0

(mm)

K0

(mm)

P1

(mm)

W

(mm)

Pin1

Quadrant

LM337IMP

SOT-223

DCY

4

1000

330.0

16.4

7.0

7.5

2.2

12.0

16.0

Q3

LM337IMP/NOPB

SOT-223

DCY

4

1000

330.0

16.4

7.0

7.5

2.2

12.0

16.0

Q3

LM337IMPX

SOT-223

DCY

4

2000

330.0

16.4

7.0

7.5

2.2

12.0

16.0

Q3

LM337IMPX/NOPB

SOT-223

DCY

4

2000

330.0

16.4

7.0

7.5

2.2

12.0

16.0

Q3

PACKAGE MATERIALS INFORMATION

www.ti.com

5-Jun-2015

Pack Materials-Page 1

background image

*All dimensions are nominal

Device

Package Type

Package Drawing

Pins

SPQ

Length (mm)

Width (mm)

Height (mm)

LM337IMP

SOT-223

DCY

4

1000

367.0

367.0

35.0

LM337IMP/NOPB

SOT-223

DCY

4

1000

367.0

367.0

35.0

LM337IMPX

SOT-223

DCY

4

2000

367.0

367.0

35.0

LM337IMPX/NOPB

SOT-223

DCY

4

2000

367.0

367.0

35.0

PACKAGE MATERIALS INFORMATION

www.ti.com

5-Jun-2015

Pack Materials-Page 2

background image

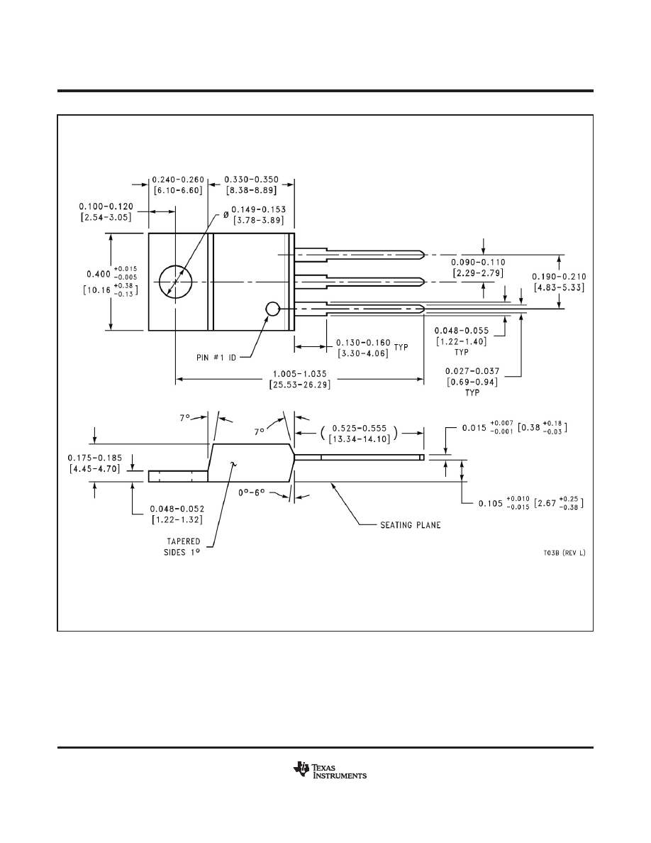
MECHANICAL DATA

NDT0003A

www.ti.com

H03A (Rev D)

background image

MECHANICAL DATA

NDE0003B

www.ti.com

background image

MECHANICAL DATA

NDG0003F

www.ti.com

T03F (Rev B)

background image

MECHANICAL DATA

MPDS094A - APRIL 2001 - REVISED JUNE 2002

POST OFFICE BOX 655303 

 DALLAS, TEXAS 75265

DCY (R-PDSO-G4)

PLASTIC SMALL-OUTLINE

4202506/B 06/2002

6,30 (0.248)

6,70 (0.264)

2,90 (0.114)

3,10 (0.122)

6,70 (0.264)

7,30 (0.287)

3,70 (0.146)
3,30 (0.130)

0,02 (0.0008)

0,10 (0.0040)

1,50 (0.059)

1,70 (0.067)

0,23 (0.009)

0,35 (0.014)

1

2

3

4

0,66 (0.026)

0,84 (0.033)

1,80 (0.071) MAX

Seating Plane

0

-10

Gauge Plane

0,75 (0.030) MIN

0,25 (0.010)

0,08 (0.003)

0,10 (0.004) M

2,30 (0.091)

4,60 (0.181)

M

0,10 (0.004)

NOTES: A. All linear dimensions are in millimeters (inches).

B. This drawing is subject to change without notice.

C. Body dimensions do not include mold flash or protrusion.
D. Falls within JEDEC TO-261 Variation AA.

background image
background image

IMPORTANT NOTICE

Texas Instruments Incorporated and its subsidiaries (TI) reserve the right to make corrections, enhancements, improvements and other
changes to its semiconductor products and services per JESD46, latest issue, and to discontinue any product or service per JESD48, latest
issue. Buyers should obtain the latest relevant information before placing orders and should verify that such information is current and
complete. All semiconductor products (also referred to herein as components) are sold subject to TIs terms and conditions of sale
supplied at the time of order acknowledgment.

TI warrants performance of its components to the specifications applicable at the time of sale, in accordance with the warranty in TIs terms
and conditions of sale of semiconductor products. Testing and other quality control techniques are used to the extent TI deems necessary
to support this warranty. Except where mandated by applicable law, testing of all parameters of each component is not necessarily
performed.

TI assumes no liability for applications assistance or the design of Buyers products. Buyers are responsible for their products and
applications using TI components. To minimize the risks associated with Buyers products and applications, Buyers should provide
adequate design and operating safeguards.

TI does not warrant or represent that any license, either express or implied, is granted under any patent right, copyright, mask work right, or
other intellectual property right relating to any combination, machine, or process in which TI components or services are used. Information
published by TI regarding third-party products or services does not constitute a license to use such products or services or a warranty or
endorsement thereof. Use of such information may require a license from a third party under the patents or other intellectual property of the
third party, or a license from TI under the patents or other intellectual property of TI.

Reproduction of significant portions of TI information in TI data books or data sheets is permissible only if reproduction is without alteration
and is accompanied by all associated warranties, conditions, limitations, and notices. TI is not responsible or liable for such altered
documentation. Information of third parties may be subject to additional restrictions.

Resale of TI components or services with statements different from or beyond the parameters stated by TI for that component or service
voids all express and any implied warranties for the associated TI component or service and is an unfair and deceptive business practice.
TI is not responsible or liable for any such statements.

Buyer acknowledges and agrees that it is solely responsible for compliance with all legal, regulatory and safety-related requirements
concerning its products, and any use of TI components in its applications, notwithstanding any applications-related information or support
that may be provided by TI. Buyer represents and agrees that it has all the necessary expertise to create and implement safeguards which
anticipate dangerous consequences of failures, monitor failures and their consequences, lessen the likelihood of failures that might cause
harm and take appropriate remedial actions. Buyer will fully indemnify TI and its representatives against any damages arising out of the use
of any TI components in safety-critical applications.

In some cases, TI components may be promoted specifically to facilitate safety-related applications. With such components, TIs goal is to
help enable customers to design and create their own end-product solutions that meet applicable functional safety standards and
requirements. Nonetheless, such components are subject to these terms.

No TI components are authorized for use in FDA Class III (or similar life-critical medical equipment) unless authorized officers of the parties
have executed a special agreement specifically governing such use.

Only those TI components which TI has specifically designated as military grade or enhanced plastic are designed and intended for use in
military/aerospace applications or environments. Buyer acknowledges and agrees that any military or aerospace use of TI components
which have not been so designated is solely at the Buyer's risk, and that Buyer is solely responsible for compliance with all legal and
regulatory requirements in connection with such use.

TI has specifically designated certain components as meeting ISO/TS16949 requirements, mainly for automotive use. In any case of use of
non-designated products, TI will not be responsible for any failure to meet ISO/TS16949.

Products

Applications

Audio

Automotive and Transportation

Amplifiers

Communications and Telecom

Data Converters

Computers and Peripherals

DLP  Products

Consumer Electronics

DSP

Energy and Lighting

Clocks and Timers

Industrial

Interface

Medical

Logic

Security

Power Mgmt

Space, Avionics and Defense

Microcontrollers

Video and Imaging

RFID

OMAP Applications Processors

TI E2E Community

Wireless Connectivity

Mailing Address: Texas Instruments, Post Office Box 655303, Dallas, Texas 75265

Copyright   2016, Texas Instruments Incorporated


Document Outline


powered by phppowered by MySQLPOWERED BY APACHEPOWERED BY CentOS© 2004 - 2026Información Legalpoliticas de cookiesipv6 ready