Secciones
Foros Electrónica
Boletines de correo
Boletines
background image

 

MOS IC

Semiconductor Group

60

01.96

Nonvolatile Memory 4-Kbit E

2

PROM

with

 I

2

C Bus and Write Protection

 SDA 3546-5

P-DIP-8-4

Circuit Description

I

2

C Bus Interface

The

I

2

C Bus is a bidirectional 2-line bus for the transfer of data between various integrated circuits.

It consists of a serial data line SDA and a serial clock line SCL. The data line requires an external
pull-up resistor to

V

CC

(open drain output stage).

The possible operational states of the

I

2

C Bus are shown in figure 1. In the quiescent state, both

lines SDA and SCL are high, i.e. the output stage of the data line is disabled. As long a SCL remain
"1", information changes on the data bus indicate the start or the end of data transfer between two
components.

The transition on SDA from "1" to "0" is a start condition, the transition from "0" to "1" is a stop
condition. During a data transfer the information on the data bus will only change while the clock line
SCL is "0". The information on SDA is valid as long as SCL is "1".

In conjunction with an

I

2

C Bus system, the memory component can operate as a receiver and as a

transmitter (slave receiver or slave transmitter). Between a start and stop condition, information is
always transmitted in byte-organized form. Between the falling edge of the eighth clock pulse and
a ninth acknowledge clock pulse, the memory component sets the SDA-line to low as a confirmation
of reception, if the chip select conditions have been met. During the output of data, the data output
of the memory is high in impedance during the ninth clock pulse (acknowledge master).

The necessary temporary signal function for the operation of the

I

2

C Bus is shown in figure 2.

Type

Ordering Code

Package

Pin Configuration

SDA 3546-5

Q67100-H5098

P-DIP-8-4

SIEMENS

Features

•—

Word-organized programmable nonvolatile memory in
n-channel floating-gate technology (E

2

PROM)

•—

512

×

 8-bit organization

•—

Supply voltage 5 V

•—

Serial 2-line bus for data input and output (

I

2

C Bus)

•—

Reprogramming mode, 10 ms erase / write cycle

•—

Reprogramming by means of on-chip control (without
external control)

•—

Check for end of programming process

•—

Programming protect mode

•—

Data retention > 10 years

•—

More than 10

5

 reprogramming cycles per address

background image

SDA 3546-5

Semiconductor Group

61

Control Functions of the

I

2

C Bus

The memory component is controlled by the controller (master) via the

I

2

C Bus in two operating

modes: read-out cycle, and reprogramming cycle, including erase and write to a memory address.
In both operating modes, the controller, as transmitter, has to provide 3 bytes and an additional
acknowledge clock pulse to the bus after the start condition. During a memory read, at least nine
additional clock pulses are required to accept the data from the memory and the acknowledge
master, before the stop condition may follow. In the case of programming, the active programming
process is only started by the stop condition after data input (see figure 3).
The chip select word contains the chip select bit CS, thus allows 2 memory chips  to be connected
in parallel. Chip select is achieved when the control bits logically correspond to the selected
conditions at the select inputs.
By means of the bit "Chip Select" CS/E the two bits A8 and A9 (MSB of the chip address) are
programmed.

Check for End of Programming or Abortion of Programming Process

If the chip is addressed during active reprogramming by entering CS/E, the programming process
is terminated. If, however, it is addressed by entering CS/A, the entry will be ignored. Only after
programming has been terminated will the chip respond to CS/A. This allows the user to check
whether the end of the programming process has been reached (see figure 3).

Memory Read

After the input of the first two control words CS/E and WA, a resetting of the start condition and the
input of the third control word CS/A, the memory is set ready to read. During acknowledge clock
nine, the memory information is transferred in parallel mode to the shift register. Subsequent to the
falling edge of the acknowledge clock, the data output is low impedance and the first data bit can be
sampled (see figure 4).

With every shift clock, an additional bit reaches the output. After reading a byte, the internal address
counter is automatically incremented when the master receiver switches the data line to "low"
during the ninth clock (acknowledge master). Any number of memory locations can thus be read
one after the other. At address 512, an overflow to address 0 is initiated. With the stop condition, the
data output returns to high-impedance mode. The internal sequence control of the memory
component is reset from the read to the quiescent state with the stop condition.

background image

SDA 3546-5

Semiconductor Group

62

Memory Reprogramming

The reprogramming cycle of a memory word comprises an erase and a subsequent write process.
During erase, all eight bits of the selected word are set into the "1" state. During write, "0" states are
generated according to the information in the internal data register, i.e. according to the third input
control word. After the 27th and last clock of the control word input, the active programming process
is started by the stop condition. The active reprogramming process is executed under on-chip
control.
The time required for reprogramming depends on component deviation and data patterns.
Therefore, with rated supply voltage, the erase/write process extends over max. 20 ms, or more
typically, 10 ms. In the case of data word input without write request (write request is defined as data
bit in data register set to "0"), the write process is suppressed and the programming time is
shortened. During a subsequent programming of an already erased memory address, the erase
process is suppressed again, so that the reprogramming time is also shortened.

Important: Switch-On Mode and Chip Reset

After the supply voltage

V

CC

 has been connected, the data output will be in high-impedance mode.

As a rule, the first operating mode to be entered, should be the read process of a word address.
As a result of the built-in "power-on reset" circuit, programming requests will not be accepted
immediately after the supply voltage has been switched on.

Total Erase

Enter the control word CS/E, load the address register with address 0 and the data register with FF
(hex) to erase the entire contents of the memory. Switch input CS2 to "open" immediately prior to
generating the stop condition. The subsequent stop condition triggers a total erase. Upon
termination of "total erase", CS2 must be reconnected to 0 V.

Write Protection Mode

When pin 2 is not connected, i. e. when CS0 is floating, this means that:
1) memory reprogramming is disabled.
2) the chip can only be addressed with chip select bit CS0 = 0 of control word CS/E or CS/A.

background image

SDA 3546-5

Semiconductor Group

63

Pin Configuration
(top view)

Pin Definitions and Functions

Pin No.

Symbol

Function

1

V

SS

Ground

2

CS

Chip select 0

V

I

 ≤

 0.2 V; 4.5

V

I

V

CC

,

open, programming disabled condition

3

TP1

to

V

SS

4

TP2

0 V norm. operation, TP2 = 5 V
total erase condition

5

SDA

Data line

6

SCL

Clock line

7

TP3

Open

8

V

CC

Supply voltage

P-DIP-8-4

background image

SDA 3546-5

Semiconductor Group

64

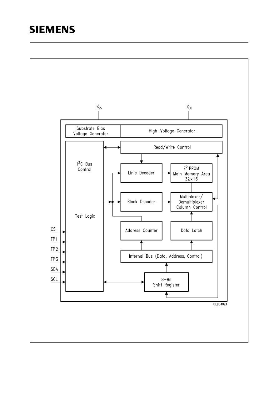
Block Diagram

background image

SDA 3546-5

Semiconductor Group

65

Absolute Maximum Ratings

Parameter

Symbol

Limit Values

Unit

min.

max.

Supply voltage range

V

CC

- 0.3

6

V

Input voltage range

V

I

- 0.3

6

V

Power dissipation

P

D

130

mW

Storage temperature

T

stg

- 40

125

°C

Thermal resistance
(system-air)

R

th SA

100

K/W

Junction temperature

T

j

85

°C

Operating Range

Supply voltage

V

CC

4.75

5.25

V

Ambient temperature

T

A

0

70

°C

background image

SDA 3546-5

Semiconductor Group

66

Characteristics

T

A

 = 25 °C

Parameter

Symbol

Limit Values

Unit

Test Condition

min.

typ.

max.

Supply voltage

V

CC

4.75

5.0

5.25

V

Supply current

I

CC

20

mA

V

CC

 = 5.25 V

Inputs

Input voltages SDA/SCL

V

IL

1.5

V

Input voltages SDA/SCL

V

IH

3.0

V

CC

V

Input currents SDA/SCL

I

IH

10

µ

A

V

IH

 =

V

CC

Outputs

Output current

SDA

I

QL

3.0

mA

V

QL

 = 0.4 V

Leakage current SDA

I

QH

10

µ

A

V

QH

 =

V

CC max

Inputs

Input voltages CS/TP1/TP2

V

IL

0.2

V

Input voltages CS/TP1/TP2

V

IH

4.5

V

CC

V

Input currents  CS/TP1/TP2

I

IH

100

µ

A

V

CC

 = 5.25 V

Clock frequency

f

SCL

100

kHz

Reprogramming duration

t

PROG

10

20

ms

erase and write

Input capacity

C

I

10

pF

Total erase

t

GL

20

ms

TP2 = 5 V

background image

SDA 3546-5

Semiconductor Group

67

Diagrams

Figure 1
Operation States of the

I

2

C Bus

background image

SDA 3546-5

Semiconductor Group

68

Figure 2
Timing Conditions for the

I

2

C Bus

Absolute Maximum Ratings

*) Note that a transmitter must internally provide at least a hold time to bridge the undefined region (max. 300 ns)

of the falling edge of SCL.

Parameter

Symbol

Limit Values

Unit

min.

max.

Minimum time the bus must be free
before a new transmission can start

t

BUF

4.7

µ

s

Start condition hold time

t

HD;STA

4.0

µ

s

Clock low period

t

LOW

4.7

µ

s

Clock high period

t

HIGH

4.0

µ

s

Start condition set-up time,
only valid for repeated start code

t

SU;STA

4.7

µ

s

Data set-up time

t

SU;DAT

250

ns

Rise time of both the SDA and SCL line

t

R

1

µ

s

Fall time of both the SDA and SCL line

t

F

300

ns

Stop condition set-up time

t

SU;STO

4.7

µ

s

Hold time data

t

HD;DAT

0*)

background image

SDA 3546-5

Semiconductor Group

69

Figure 3

Programming

Control word input

Figure 4

Read

Control word input read
a) complete (with word address input)

ST

CS/E

As

WA

As

DE

As

SP

(the reprogramming starts after
this stop condition)

ST

CS/A

As

Check for program end by

1. when As = 1 programming is not finished
2. when As = 0 programming is finished

Program interruption by

ST

CS/E

As

ST

CS/E

As

WA

As

ST

CS/A

As

DA

Am

DA

Am

SP

n bytes

Last byte

Automatic incrementation

of the word address

ST

CS/A

As

DA

Am

DA

Am

SP

b) shortened:

Bit 0 †¦ 8 the last selected word
address remain unchanged

n bytes

Last byte

Autoincrement

Am = 0

before stop condition

Am = 1

background image

SDA 3546-5

Semiconductor Group

70

Control Word Table

Control Word Input Key

Clock No.

1

2

3

4

5

6

7

8

9

(Acknowledge)

CS/E
CS/A
WA
DE
DA

1

0

1

0

CS2 CS1 CS

0

0

1

0

1

0

CS2 CS1 CS

1

0

A7

A6

A5

A4

A3

A2

A1

A0

0

D7

D6

D5

D4

D3

D2

D1

D0

0

D7

D6

D5

D4

D3

D2

D1

D0

0/1

through memory
through memory
through memory
through memory
through master

CS/E

Chip select for data input into memory

CS/A

Chip select for data output out of memory

WA

Memory word address

DE

Data word for memory

DA

Data word read out of memory

D0 to D7

Data bits

ST

Start condition

SP

Stop condition

As

Acknowledge bit from memory

Am

Acknowledge bit from master

CS0, CS1, CS2

Chip select bit

A0 to A8

Memory word address bits


powered by phppowered by MySQLPOWERED BY APACHEPOWERED BY CentOS© 2004 - 2026Información Legalpoliticas de cookiesipv6 ready